Računari
Re: Računari
Taj "signal" ADSL-a se ne moze tek tako podeliti spliterom koliko znam. Mislim da moras imati router za tako nesto.
Everything happens for a reason. Sometimes the reason is that you're stupid and make bad decisions!
-
Cherokee
- Postovi: 1536
- Pridružio se: 17 Jan 2012, 21:35
- Garaža: Audi A4 B9 Avant 2.0TDI
- Lokacija: München
Re: Računari
Spliter je filter, razdvaja niski propusni opseg (3.4 kHz na kom se glas prenosi) od visokog na kom ide ADSL signal itd.
Re: Računari
pa imas u radnji u kojoj se prodaje elktricna roba, onaj razdvojnik za 4 telefona koliko se secam, e sad iz onog splitera za ADSL imas kabal za telefon, koji sada stavi kao izvor za ovaj razvodnik, i verujem da ce raditi. 
Re: Računari
@chiroki:
Da, to sam hteo da kazem
@sabe
Meni treba obrnuta varijanta. Da podelim adsl signal.
Dodjavola jednostavnije mi je da kupim access point
Da, to sam hteo da kazem
@sabe
Meni treba obrnuta varijanta. Da podelim adsl signal.
Dodjavola jednostavnije mi je da kupim access point
Re: Računari
e sad mene interesuje kad hoces da podelis adsl signal da imas internet na vise mesta? npr da imas lan konekciju za vise kompjutera...
- nuk
- Postovi: 7607
- Pridružio se: 13 Jan 2012, 08:49
- Garaža: Renault Espace 2.0dCi
- Lokacija: Ns
- Kontakt:
Re: Računari
Vidis, ovo nisam znao.Cherokee napisao:Spliter je filter, razdvaja niski propusni opseg (3.4 kHz na kom se glas prenosi) od visokog na kom ide ADSL signal itd.
Onaj cajniz razdelnik, manji sa moje slike, sam polomio i unutra nema nicega sto moze da razdvaja signal sem zica, mislio sam da su svi takvi.
Ispade ipak da nikaragvi jedino ruter resava stvar
- methane.master
- Postovi: 21561
- Pridružio se: 13 Jan 2012, 10:30
- Garaža: Clio III ph2 1,2 16V
Re: Računari
Najćešće se to radi na ADSL ruteru koji obično ima 4 LAN porta, na koje povezuješ računare mrežnim kablom. Danas većina ADSL rutera ima i wireless pa može i tako.
Širim haos!
Re: Računari
Čitam ovo i mada se ne razumem mnogo vidim da imaš dva rešenja.
1a. Ruter u jednoj sobi pa vuci kabl do druge
1b. Ruter na tavanu pa vući kablove do obe sobe. - glupo rešenje pored ostalog i što ruter nekad zabaguje pa mora da se isključi pa je bezveze da trčiš na tavan zbog toga.
2. Wireless ruter u jednoj sobi, pa se konektuj u drugim. po meni najlogičnije naročito imajući u vidu da kod većine adsl provajdera možeš da uzmeš ruter sa wireless-om.
1a. Ruter u jednoj sobi pa vuci kabl do druge
1b. Ruter na tavanu pa vući kablove do obe sobe. - glupo rešenje pored ostalog i što ruter nekad zabaguje pa mora da se isključi pa je bezveze da trčiš na tavan zbog toga.
2. Wireless ruter u jednoj sobi, pa se konektuj u drugim. po meni najlogičnije naročito imajući u vidu da kod većine adsl provajdera možeš da uzmeš ruter sa wireless-om.
Re: Računari
to sam i ja mislio, nego nikako da odgovori sta mu tacno treba. znaci najbolje je da ima wireless router, pa da ima razvuceno po celoj kuci/stanu, a sad one routere sa wireless-om koje nude ovi nasi provajderi su zesce njesra, osim onih FERARI koje je nudio telekom, sa 2 antene. Zato naj najbolje da provedes svoj ADSL modem/rutercic do neke centralne prostorije, gde ce svi ostali racunari biti na istoj udaljenosti(isti broj zidova izmedju centralne prostorije i njih). i tu samo iz jednog izlaza za lan, povezes na SOURCE wireless routera koji kupis i imaces vezu sa svima, jeste da ce ti mooozda nekada zabagovati ali veruj neces imati problema uz firmware update. jos ako moze da se ubace i ddwrt firmware onda nemas brige sa signalom.
ako treba jos neka pomoc javi
ako treba jos neka pomoc javi
- Milos_kg
- Postovi: 3525
- Pridružio se: 13 Jan 2012, 01:06
- Garaža: Alfa 147 1.9 16v JTDm
- Lokacija: Kragujevac
Re: Računari
Nisam nista skapirao iz prethodnik postova sta ustvari zelis, pa cu sam polako da krenem sa pisanjem, pa ako ti nesto zalici na problem, tim bolje
U kuci imam 2 telefonska aparata(jedan na spratu, drugi na prizemlju; isti broj) i 2 racunara (oba na spratu u 2 razlicite sobe). Gornji telefon je bio prikljucen na spliter i nije pravio problem. Donji je prekidao konekciju kada bi neko podigao slusalicu. Taj problem sam resio na nacin koji je nuk napisao, uzeo sam jos 1 spliter. Telefonski kabl iz zida ide u LINE prikljucak na spliteru. Iz njega, iz PHONE izlaza ide kabl do telefona na prizemlju, a iz ADSL izlaza ide kabl do drugog splitera koji se nalazi na spratu, i to u LINE ulaz. Zatim ista stvar, iz PHONE izlaza ide kabl do telefona na spratu, a iz ADSL ide kabl do modema koji je u mojoj sobi. Do bratove susedne sobe sam sproveo internet preko LAN kabla.
Ukoliko zelis 3 racunara na isti ADSL, onda neka ti modem bude u blizini racunara kojeg ces povezati sa modemom preko USB prikljucka, a druga 2 racunara preko LAN kabla.
Ukoliko hoces vise od 3 racunara, onda je switch najbolje resenje.
Znaci, koliko telefonskih aparata imas u kuci, toliko moras splitera da imas.
Oznake LINE, PHONE, ADSL iz gornjeg teksta se odnose na ulaze/izlaze sa slike ispod:

-------------------------------------------------------------------------------------------
EDIT: Povezivanje dva splitera bi bilo moguce izbeci pomocu rj11 splitera, kao sto je Sebekkg nacrtao.
Iz PHONE izlaza na spliteru da kabl ide do rj11 splitera (slika ispod), a iz njega par telefonskih aparata.

U kuci imam 2 telefonska aparata(jedan na spratu, drugi na prizemlju; isti broj) i 2 racunara (oba na spratu u 2 razlicite sobe). Gornji telefon je bio prikljucen na spliter i nije pravio problem. Donji je prekidao konekciju kada bi neko podigao slusalicu. Taj problem sam resio na nacin koji je nuk napisao, uzeo sam jos 1 spliter. Telefonski kabl iz zida ide u LINE prikljucak na spliteru. Iz njega, iz PHONE izlaza ide kabl do telefona na prizemlju, a iz ADSL izlaza ide kabl do drugog splitera koji se nalazi na spratu, i to u LINE ulaz. Zatim ista stvar, iz PHONE izlaza ide kabl do telefona na spratu, a iz ADSL ide kabl do modema koji je u mojoj sobi. Do bratove susedne sobe sam sproveo internet preko LAN kabla.
Ukoliko zelis 3 racunara na isti ADSL, onda neka ti modem bude u blizini racunara kojeg ces povezati sa modemom preko USB prikljucka, a druga 2 racunara preko LAN kabla.
Ukoliko hoces vise od 3 racunara, onda je switch najbolje resenje.
Znaci, koliko telefonskih aparata imas u kuci, toliko moras splitera da imas.
Oznake LINE, PHONE, ADSL iz gornjeg teksta se odnose na ulaze/izlaze sa slike ispod:

-------------------------------------------------------------------------------------------
EDIT: Povezivanje dva splitera bi bilo moguce izbeci pomocu rj11 splitera, kao sto je Sebekkg nacrtao.
Iz PHONE izlaza na spliteru da kabl ide do rj11 splitera (slika ispod), a iz njega par telefonskih aparata.

1) Volkswagen Polo 6n2 1.4 16V Comfortline
2) Fiat Bravo GT 1.9JTD Suite
3) Alfa Romeo 147 1.9 16v JTDm Progression
Ne brže od života!! VIDEO za sve vozače!
2) Fiat Bravo GT 1.9JTD Suite
3) Alfa Romeo 147 1.9 16v JTDm Progression
Ne brže od života!! VIDEO za sve vozače!
Re: Računari
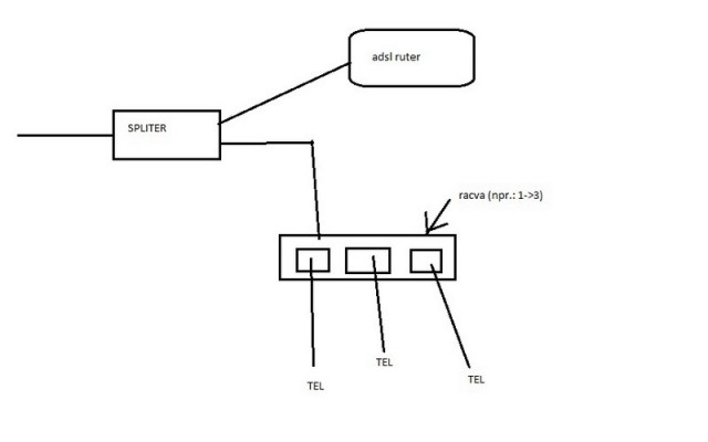
pa da losmi, ovo mu je jedino resenje za vise telefona, a za vise kompova na liniji ili razvodjenje preko externe mrezne, pa svugde LAN ,sto mi je debilno i skupo, ili wireless router, pa i ako negde bude pravio problema zbog slabijeg signala, uvek moze da se doda i range extender ili ti produzivac dometa signala. nesto ovako
http://www.youtube.com/watch?v=DHcvFunzY48
http://www.youtube.com/watch?v=DHcvFunzY48
- Uroš S.
- Postovi: 11049
- Pridružio se: 13 Jan 2012, 01:17
- Garaža: BMW X1 X-Line | Yamaha X-Max 300 TechMax | Polar Forester
- Lokacija: BGD
Re: Računari
Treba mi besplatan DVD ripper, da sa DVD-ja prebacim na USB?
Re: Računari
Mozda ce pitanje delovati glupo,ali nesto me zanima.Zelim da uzmem jedan tablet pc i sad me zanima u cemu je konkretna razlika izmedju Tablet racunara i Netbook-a ? Jasno mi je da ima virtuelnu tastaturu,umesto obicne kao sto je slucaj kod netbook-a,kao i to da je prikladnijih dimenzija,pre svega laksi.Ima li jos nekih razlicitosti ?
Ono sto me zanima to je da li se na njega moze instalirati operativni sitem i da li podrzava internet (dakle priljucak USB modema).Gledao sam malo komentare po netu i vidim da se ljudi zale da mnogi tableti ne podrzavaju USB modem iz ko zna kog razloga,a meni je to najvaznija stavka.
Ovaj tablet mi se cini kao sasvim dobar : http://www.eponuda.com/tablet-pc-racuna ... ena-194604
Sta mislite o njemu ?
Ono sto me zanima to je da li se na njega moze instalirati operativni sitem i da li podrzava internet (dakle priljucak USB modema).Gledao sam malo komentare po netu i vidim da se ljudi zale da mnogi tableti ne podrzavaju USB modem iz ko zna kog razloga,a meni je to najvaznija stavka.
Ovaj tablet mi se cini kao sasvim dobar : http://www.eponuda.com/tablet-pc-racuna ... ena-194604
Sta mislite o njemu ?
- trojanac
- Editor in Chief
- Postovi: 33126
- Pridružio se: 06 Jan 2012, 11:39
- Garaža: KIA Ceed JD 1.4
- Lokacija: Beograd
- Kontakt:
Re: Računari
Netbook uglavnom dolazi sa Windows operativnim sistemom, dok su tableti najčešće sa Android-om, kao kod mobilnih telefona. Generalno, Android završava sve osnovne funkcije koje su potrebne prosečnom korisniku, a za nešto naprednije bolji izbor je Net/Notebook.
Posetite www.garaza.rs !
